1ПССД 27.33.4,0-п

Чертеж изделия:
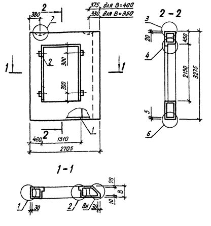
Характеристики изделия:
ПараметрЗначение
Длина2705 мм
Ширина400 мм
Высота3275 мм
Масса2120 кг
Нормативный документСерия 1.232.1-8
Цена:
Рассчитать стоимость

Стандарт изготовления изделия: Серия 1.232.1-8

Панель однослойная самонесущая 1ПССД 27.33.4,0-п (1.232.1-8) представляет собой прочную прямоугольную конструкцию, выполненную из легкобетонной смеси и стального внутреннего каркаса. Наружная поверхность строительного элемента обладает эстетичным декоративным слоем. Вертикальные грани наружного слоя запроектированы из условия устройства стыков, заделываемых герметиками. На нижней горизонтальной грани предусмотрена декомпрессионная полость. Конструкционными особенностями, как данной панели, так и всех аналогичных изделий, изготавливаемых по регламенту Серия 1.232.1-8, является наличие проемов для окон и дверей. 

Маркировка

1. 1 - различие в размерах или расположении проема;

2. ПССД - панель стеновая самонесущая с дверным проёмом;

3. 27 - длина в дециметрах;

4. 33 - высота в дециметрах;

5. 4,0 - толщина в дециметрах;

6. п - используется бетонная смесь на пористых заполнителях.